Результаты параллельных испытаний (обследования) фрагмента монолитного железобетонного перекрытия ультразвуковым эхометодом (томограф А1040Mira) и георадаром для бетона Proceq GP8800.
Ниже, представлены результаты параллельных испытаний (обследования) фрагмента монолитного железобетонного перекрытия ультразвуковым эхометодом (томограф А1040Mira) и георадаром для бетона Proceq GP8800.
Обследование выполнялось на участке в средней трети пролета конструкции ультразвуковым эхометодом (томограф А1040Mira) и георадаром для бетона Proceq GP8800 широкополосным с основной частотой 3.94 ГГц. Антенные решетка томографа (антена георадара), при выполнении обследованиия, располагались на верхней грани плиты перекрытия.
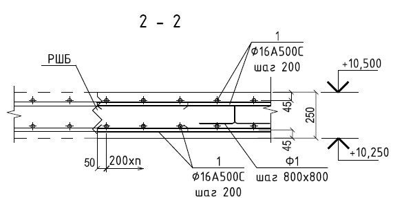
Характеристики обследуемой конструкции:
— толщина плиты перекрытия на участке обследования составляет 250 мм; -плита перекрытия выполнена из бетона В35W4F75;
— основное нижнее армирование выполнено стержневой арматурой d16А500С с шагом 200 мм в обоих направлениях, расстояние до центров арматурных стержней вдоль б. о. 45 мм, вдоль ц. о. 61 мм;
— основное верхнее армирование выполнено стержневой арматурой d16А500С с шагом 200 мм в обоих направлениях, расстояние до центров арматурных стержней вдоль б. о. 61 мм, вдоль ц. о. 45 мм;
— дополнительное верхнее армирование выполнено стержневой арматурой d16А500С с шагом 200 мм в обоих направлениях, расстояние до центров арматурных стержней вдоль б. о. 61 мм, вдоль ц. о. 45 мм;
— поперечное армирование в зонах капителей выполнено шпильками Ш1 из d12А240 с шагом 100×100;
— армирование капителей выполнено изделиями Г1 и Г2 из d16А500С с шагом 100 мм в обоих направлениях.
По результатам обследования сделаны следующие выводы:
Ультразвуковой эхометод (томограф A1040MIRA) (UPE)
На В-томограммах (В-сканах), полученных при обследовании ультразвуковым эхометодом, фрагмента плиты перекрытия на глубине 250 мм выявляется донный образ (отражение от нижней грани плиты перекрытия), и образы всех слоев основного армирования (нижнего и верхнего). Анализируя их, видно, что дополнительного армирования на участке нет, что согласуется с данными рабочей документации. Таким образом, по данным В-томограммам, возможно определить следующие параметры системы армирования:
—фактическая толщина плиты перекрытия на участке обследования около 250 мм;
— основное нижнее армирование выполнено стержневой арматурой с шагом 190-210 мм в обоих направлениях, расстояние до центров арматурных стержней вдоль б. о. 45 мм, вдоль ц. о. 60 мм;
— основное верхнее армирование выполнено стержневой арматурой с шагом 190-210 мм в обоих направлениях, расстояние до центров арматурных стержней вдоль б. о. 90 мм, вдоль ц. о. 70 мм.
Георадар для бетона Proceq GP8800 (GPR)
При анализе радарограмм, отчетливо выделяются гиперболические оси синфазности первого и второго слоев армирования в двух направлениях (арматурная сетка у верхней грани плиты перекрытия), что позволяет определить шаг и толщину защитного слоя бетона (при правильно подобранном коэффициенте диэлектрической проницаемости) системы армирования у верхней грани плиты. На глубине около 200 мм, выделяются предполагаемые гиперболические оси синфазности слоев нижнего армирования и отражение от нижней (невидимой) грани плиты. Определение параметров армирования (шаг, толщина защитного слоя бетона) у нижней грани плиты возможно лишь приближенно.
Также, приближенно выделяется отражение от нижней грани плиты, что позволяет оценить ее толщину (около 250 мм). Ухудшение видимости образов стержней системы нижнего армирования плиты перекрытия, связано, прежде всего, с взаимным расположением стержней, соответствующего направления, друг под другом. Это приводит к экранированию стержней нижней сетки, стержнями верхней.
Очевидным преимуществом георадара, является большая скорость обследования, по сравнению с ультразвуковым эхометодом, что позволяет уверенно оценивать количество стержней верхнего армирования в погонном метре конструкции.
Оптимальным и максимально эффективным, будет являться комплексное использование двух методов. Это позволит сочетать большую глубину обследования ультразвукового эхометода с скоростью обследования георадара.
Ниже, также прикреплены интерпретации радарограмм, выполненные ИИ (встроенный в Proceq GP8800), что позволяет более наглядно представить внутреннюю структуру фрагмента плиты перекрытия.





























