В составе работы по техническому обследованию, выполняем определение расположения арматурных стержней и параметров армирования монолитных железобетонных плит перекрытий ультразвуковым эхометодом (с помощью томографа А1040Mira) в здании, расположенном в Москве. Задачей является подтверждение соответствия фактического армирования требованиям нормативной и рабочей документации.
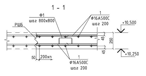
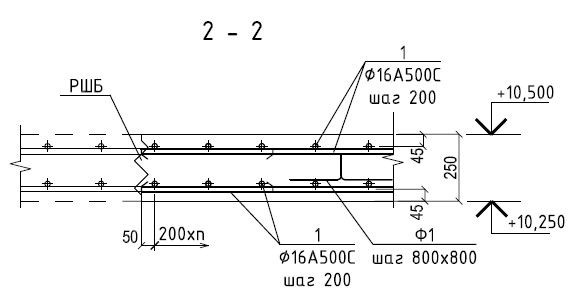
В соответствии с требованиями разделов рабочей документации:
— толщина плиты перекрытия в пролетной части 250 мм;
— толщина плиты перекрытия в зоне капители 250 мм;
— основное армирование плиты перекрытия выполнено в 4 слоя арматуры d16A500 с шагом 200 ммв вдоль обоих направлений.
— расстояние до центров арматурных стержней вдоль цифровых осей 45 мм;
— в зонах капителей дополнительное армирование плиты перекрытия выполнено в 4 слоя арматуры d16A500 с шагом 200 ммв вдоль обоих направлений;
— поперечное армирование плиты перекрытия в зонах капителей выполнено из гладкой арматуры d12A240 в виде шпилек.
По результатам обследования участков плиты перекрытия томографом ультразвуковым А1040Mira, сделаны следующие выводы:
— фактическая толщина плиты перекрытия в пролетной части около 250 мм;
— определение фактической толщины плиты перекрытия в зоне капители ультразвуковым эхометодом невозможно, вследствие насыщенного армирования зоны капители;
— в пролетных зонах выявляются стержни всех слоев армирования;
— фактическое расстояние до центров арматурных стержней основного армирования в пролетных зонах вдоль цифровых осей 60 мм, вдоль буквенных осей 90 мм;
— в зонах капителей, выявляются 2 верхних слоя основного армирование плиты перекрытия выполнено с шагом 200 мм вдоль обоих направлений.
— фактическое расстояние до центров арматурных стержней основного армирования вдоль цифровых осей 60 мм, вдоль буквенных осей 90 мм;
— в зонах капителей, выявляются 2 верхних слоя дополнительного армирование плиты перекрытия выполнено с шагом 200 мм вдоль обоих направлений;
— фактическое расстояние до центров арматурных стержней дополнительного армирования вдоль цифровых осей 60 мм, вдоль буквенных осей 90 мм;
— ультразвуковым эхометодом не выявляется поперечное армирование плиты перекрытия в зонах капителей из гладкой арматуры d12A240 в виде шпилек и стержни слоев нижнего армирования, вследствие насыщенного армирования зоны капители;
По результатам обследования ультразвуковым эхометодом, было принято решение выполнить контрольные вскрытия на участках плиты перекрытия с капителями и выполнение георадиолокационного обследования для уточнения фактических параметров армирования.























